Apple Explores Innovative Gesture Controls for AirPods Through Antenna Technology

Source: Date:

Apple Explores Innovative Gesture Controls for AirPods Through Antenna Technology

In an exciting development for audio enthusiasts, Apple is delving into groundbreaking ways to enhance the user experience with AirPods. A recently uncovered patent indicates that Apple may be working on a system that enables AirPods to interpret gesture controls without the need for traditional detection circuitry, leveraging the radio frequency (RF) antennas instead. This shift could lead to a more seamless and intuitive interaction with their popular wireless earphones.

Revolutionizing Gesture Recognition in Future AirPods

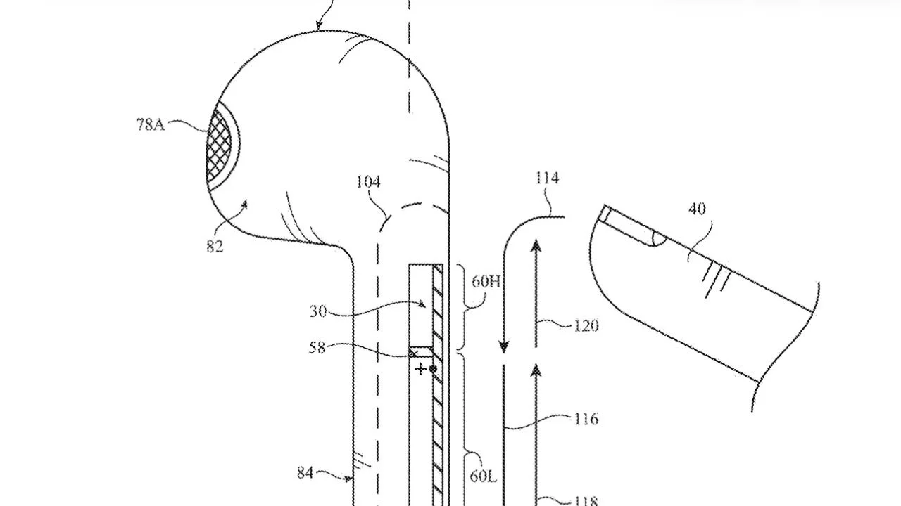
A newly revealed patent, titled "Gesture Detection Based on Antenna Impedance Measurements," outlines a pioneering approach to gesture recognition. This innovative concept could replace conventional methods, allowing users to control their AirPods with simple gestures detected by the RF antennas embedded within the devices.

AirPods
Image Credit - Apple

Related Articles

The innovative method Apple presents in this patent revolves around using the AirPods' radio antennas not just for audio transmission but also for gesture detection through impedance measurement techniques. Such advancements could redefine how users interact with their devices, ushering in an era of more intuitive controls.

What are your thoughts on gesture controls for AirPods?

Love them, faster gestures sound great
12.5%
Curious, but I want to try it first
37.5%
Meh, buttons or taps are fine
25%
I mostly control music from my phone anyway
25%
Subscribe to Apple news
Receive the latest Apple news
By subscribing you agree to our terms and conditions and privacy policy.

The patent documentation consists of approximately 13,000 words, including numerous diagrams explaining the impedance measurement process with various materials. As is typical with patent filings, Apple aims to cover as many use cases as possible with this new technology.

The Future of Gesture Controls in Apple Devices

Scroll to Top